Focus Fanatics Forum banner

Clear fluid drip- where from?

1.9K views 14 replies 7 participants last post by  sailor  
#1 ·
I have noticed two small lightly discolored spots on the ground under the car. When under the car, I see a drop of a clear oily substance getting ready to drip from the bottom center of the fan shroud and then again about 8 inches to the right of the shroud. The antifreeze is green, the power steering uses ATF, I have had to add freon last summer that had a sealer and is green. I can't figure out what and where this is coming from. It drips a drop or two every day. Whatever this stuff is, it is colorless. Any ideas where this is coming from??


2003 ZX5 Auto 135k miles


Jay
 
#4 ·
Leave a piece of paper or something under where it's dripping from, if there is any color at all it should bleed into the paper. Brake fluid feels oily and is basically clear but I don't know why it would end up by the radiator.
 
#7 ·
Radiator pipe - at least you didn't blow the cap out the end with sudden disastrous results (complete loss of coolant) like some who've posted here...

Ford part, not expensive I understand, just a PITA to have to do it....
 
#9 ·
What is wrong with American automotive engineers designing in all these plastic crap parts?? They need to have these parts fail in their own cars. They probably can't fix their own cars. I am tired of plastic parts failing in this car.
 
#10 ·
Gotta keep making them lighter & cheaper, to make room for all the extra gizmo's while still being reasonably economical....

Cars used to be traded in at 2 or three years old, and worn out by 5....
 
#11 ·
Cheap is the word. This part could have been made out of aluminum. Already had to replace the plastic thermostat housing a while ago. I read that is used to be a metal part.
 
#12 ·
For the thermostat housing, If I remember right it's the Contour aluminum one that's a direct fit swap....

Agreed, COULD have been an aluminum part - with the rubber isolators & top-hat washers for the mounts to do it right, a tiny bit heavier & a lot more expensive....

We COULD have a Focus with coil-overs, fully adjustable suspension with Aluminum arms, Carbon Brakes, and so on....

It just wouldn't be an inexpensive Focus anymore....

Even Porsche has to "Cut Corners" to make a price point & get the performance desired...

I'm happy Ford could do so much with so little, would PREFER it to be bolted together a bit "prettier" from the factory, but even the Japanese cars that USED to be aren't anymore now that they are made here... Again it's a cost control measure...

My MAIN thing is being happy to have a car with decent steering feel - even a lot of new BMW models are getting complaints in the reviews that they've gotten away from nice steering feel to appeal more to the masses.... I think they've lost their way with that idea, but they won't care as long as they keep selling them....
 
#13 ·
Updated

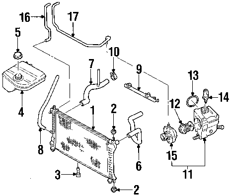
Got the Ford part this morning and was an easy install. Part that leaked is Item #9 in parts breakout. Ford P/N YS4Z-8290-BA. It is a good sign that this replacement is made in Germany and not you-know-where. Part cost $23.

Attached are photos:

http://i245.photobucket.com/albums/gg52/jay1047/fordpartnumber.jpg

http://i245.photobucket.com/albums/gg52/jay1047/newone.jpg

http://i245.photobucket.com/albums/gg52/jay1047/incar.jpg

http://i245.photobucket.com/albums/gg52/jay1047/focuscooling.gif

Thanks for everyone's help in identifying this strange part.



Jay
 
#15 ·
Yup - That's the GOOD thing, it's NOT an expensive repair....

A "proper" part would be at least four times the cost...

Might have lasted longer, but would be pricier to fix once it gave up....

(just from experience fixing my "bud's" Porsche) It's older, but repairs once needed aren't cheap....